SN74610
SN74610 MEMORY MAPPER
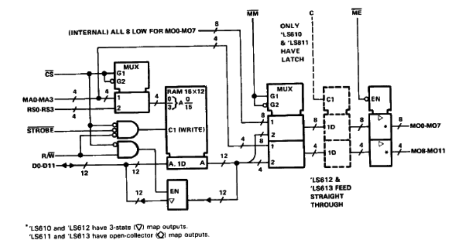
آی سی SN74610 از سری آی سی های TTL یک آی سی MEMORY MAPPER می باشد. این آی سی شامل یک دیکدر 4 به 16 ، 12 بیت RAM و مالتی پلکسر 16 کاناله دو به یک و همچنین 12 لچ با پایه کنترل می باشد.
برای مشاهده پایه های آی سی SN74610 به تصویر زیر مراجعه کنید:
برای مشاهده ساختار داخلی آی سی SN74610 به تصویر زیر مراجعه کنید:
برای مشاهده سایر آی سی های TTL مدل DIP به لینک زیر مراجعه نمایید:
برای مشاهده سایر آی سی های TTL مدل smd به لینک زیر مراجعه نمایید:
برای مشاهده دیتاشیت آی سی SN74610 می توانید به نوار دیتاشیت محصول مراجعه نمایید.
برای خرید آی سی SN74610 به صورت اینترنتی می توانید از همین صفحه اقدام نمایید.
جهت دریافت فایل بر روی نام آنها کلیک نمایید



ثبت دیدگاه
حساب کاربری
جهت ثبت دیدگاه نیاز به ورود به حساب کاربری میباشد، قبلا ثبتنام کردهاید ؟ وارد شوید
کاربر گرامی، دیدگاه شما پس از تایید تیم مدیریت جهت دیگر کاربران نمایش داده خواهد شد.