TC4572BP
CD4572 Four Inverters, One 2-Input NOR Gate, One 2-Input NAND Gate
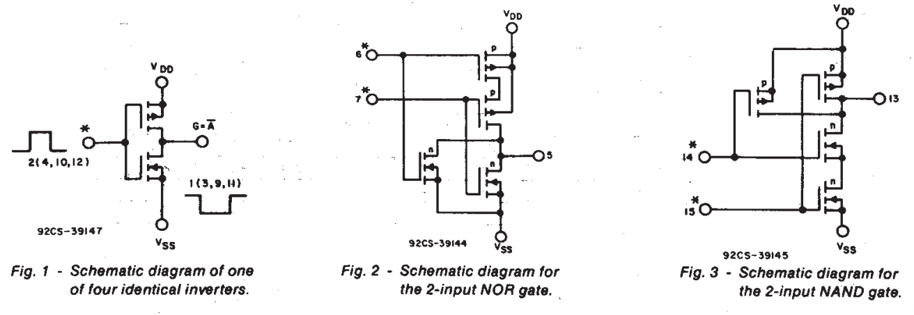
آی سی CD4572 از سری آی سی های CMOS شامل 4 عدد گیت NOT و یک عدد گیت NOR دو ورودی و یک عدد گیت NAND دو ورودی می باشد که دارای 8 ورودی و 6 خروجی است. تمام پایه های ورودی این آی سی با دیودهای متصل به Vdd و Vss در برابر تخلیه الکترواستاتیکی (الکتریسیته ساکن) محافظت می شوند. گستره ولتاژ کاری این آی سی از 3 تا 18 ولت است.
برای مشاهده پایه های آی سی CD4572 به تصویر زیر مراجعه کنید:
برای مشاهده ساختار داخلی آی سی CD4572 به تصویر زیر مراجعه کنید:
برای مشاهده سایر آی سی های CMOS به لینک زیر مراجعه کنید:
برای دریافت دیتاشیت آی سی CD4572 به نوار مخصوص دیتاشیت محصول مراجعه نمایید.
برای خرید آی سی CD4572 به صورت اینترنتی می توانید از همین صفحه اقدام نمایید.
جهت دریافت فایل بر روی نام آنها کلیک نمایید


ثبت دیدگاه
حساب کاربری
جهت ثبت دیدگاه نیاز به ورود به حساب کاربری میباشد، قبلا ثبتنام کردهاید ؟ وارد شوید
کاربر گرامی، دیدگاه شما پس از تایید تیم مدیریت جهت دیگر کاربران نمایش داده خواهد شد.