CD4076
CD4076
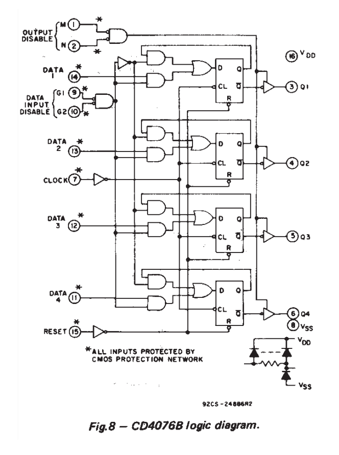
آی سی CD4076 شامل چهار فلیپ فلاپ نوع D می باشد و دارای 4 ورودی و یک ورودی کلاک و 4 خروجی است. ورودی های این آی سی توسط دیودهای متصل به Vdd و Vss در برابر تخلیه الکترواستاتیکی (الکتریسیته ساکن) محافظ شده اند. آی سی دارای محدوده ولتاژ 3 الی 18 ولت می باشد. برای مشاهده جدول درستی این فلیپ فلاپ به جدول زیر مراجعه کنید:
برای مشاهده پایه های آی سی CD4076 به تصویر زیر مراجعه کنید:
برای مشاهده ساختار داخلی آی سی CD4076 به تصویر زیر مراجعه کنید:
برای مشاهده سایر آی سی های CMOS به لینک زیر مراجعه کنید:
برای دریافت دیتاشیت آی سی CD4076 به نوار مخصوص دیتاشیت محصول مراجعه نمایید.
برای خرید آی سی CD4076 به صورت اینترنتی می توانید از همین صفحه اقدام نمایید.
جهت دریافت فایل بر روی نام آنها کلیک نمایید



ثبت دیدگاه
حساب کاربری
جهت ثبت دیدگاه نیاز به ورود به حساب کاربری میباشد، قبلا ثبتنام کردهاید ؟ وارد شوید
کاربر گرامی، دیدگاه شما پس از تایید تیم مدیریت جهت دیگر کاربران نمایش داده خواهد شد.